Котел Альтеп MEGA 1000 кВт

- В наявності
716 800 ₴
Промислові твердопаливні котли Альтеп MEGA потужністю 1000 кВт. Складається із шамотної топкової камери і теплообмінника жаротрубного типу з суцільнотягнутої безшовної труби. Колосникова решітка виготовлена з високоякісного чавуну.
Спеціальна система подавання повітря для горіння дає змогу спалювати різні види палива з високим ККД і низькими викидами шкідливих речовин в атмосферу. Робочий тиск теплоносія до 3 барів дає змогу експлуатувати для обігріву високих будівель, де необхідний підвищений тиск циркулювальної води.
Керує роботою котла Альтеп мікропроцесорний блок керування з PID-регулюванням
Можлива модернізація для роботи на пелеті в автоматичному режимі. Необхідно лише встановити пелетну горелку у дверцятах котла, паливний бункер і поживний шнек.

Основні переваги
- Конструкція промислового типу;
- Велика шамотна топка;
- Високий робочий тиск теплоносія;
- Можливість використання як у стаціонарних, так і у блоково-модульних котельних;
- Велика потужність модельного ряду котлів;
- Товщина сталі теплообмінника від 6 до 10 мм;
- Надійність і простота в експлуатації;
- Тривалий термін експлуатації.

Відео-обзор котла
Комплектація
- Котел в обшивці;
- Блок автоматики керування;
- Вентилятори — 2 шт.;
- Шкірковий інструмент;
- Документація
Конструкція

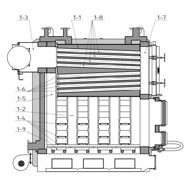
Внутрішня будова котла
| 1-1. Корпус котла; | 1-6. Перший ряд жарових труб теплообмінника; |
| 1-2. Топка котла; | 1-7. Зона чищення котла; |
| 1-3. Борів під'єднання димоходу; | 1-7. Друга поворотна камера теплообмінника; |
| 1-4. Патрубки подавання повітря в топку для горіння; | 1-8. Другий ряд жарових труб теплообмінника; |
| 1-5. Перша поворотна камера теплообмінника; | 1-9. Колосникова решітка. |
Зовнішня будова котла
| 2-1. Патрубок подавання мережевої води; | 2-8. Дверцята поличника; |
| 2-2. Патрубок зворотної мережевої води; | 2-9. Дверцята топки; |
| 2-3. Патрубки під запобіжні клапани; | 2-10. Дверцята колосникові; |
| 2-4. Ручки повітряних заслінок; | 2-11. Дверцята завантажувальні; |
| 2-5. Драбина монтажна; | 2-12. Дверцята конвекційної частини котла; |
| 2-6. Блок автоматики керування; | 2-13. Штуцер зливання води з котла. |
| 2-7. Вентилятори наддуву повітря *) |
Примітка: *) У котлах потужністю 600...1000 використовується два вентилятори, а в котлах потужністю 1200...1500 кВт використовується три вентилятори.
Блок автоматики керування

Габаритні розміри


Технічні характеристики

| Основні | |
|---|---|
| Виробник | Altep |
| Країна виробник | Україна |
| Вид пального | Тверде |
| Види твердого палива | Антрацит, Брикети, Буре вугілля, Дрова, Кам'яне вугілля |
| Коефіцієнт корисної дії | 86 % |
| Призначення котла | Одноконтурний |
| Спосіб установки | Підлоговий |
| Тип топки | Відкрита |
| Матеріал теплообмінника | Сталь |
| Спосіб відведення відпрацьованих газів | Димар |
| Мінімальна температура димових газів | 100 град. |
| Максимальна температура димових газів | 180 град. |
| Гарантійний термін | 60 міс |
| Теплоносій | Вода |
| Колір | Червоний |
| Тип котла | Тривалого горіння |
| Автоматична подача палива | Ні |
| Стан | Новий |
| Опалення | |
| Мінімальний робочий тиск системи опалення | 1 бар |
| Максимальний робочий тиск системи опалення | 3 бар |
| Мінімальна температура в режимі опалення | 58 град. |
| Максимальна температура в режимі опалення | 85 град. |
| Електричні параметри | |
| Напруга мережі | 220~240 В |
| Частота | 50 Гц |
| Габаритні і приєднувальні розміри | |
| Діаметр димоходу | 500 мм |
| Вхід в систему опалення | 5" |
| Повернення з системи опалення | 5" |
| Користувальницькі характеристики | |
| Потужність номінальна | 1000 |
| Об'єм води в котлі | 2800 |
| Площа обігріву | 10000 |
| Вага | 5850 |
| Споживана потужність | 1500 |
| Об'єм камери згоряння | 3010 |
| Тип котла по потужності | Промисловий до 1500 кВт |
- Ціна: 716 800 ₴







